古代做爰全过程免费的视频,果冻传媒一二三产区,天堂在线www,巴西free性video极品

Hello! Welcome to Jiangsu Zhongwei Measurement and Control Instrument Co., Ltd.

Multi throat air flow measurement device

22多喉徑風(fēng)量測(cè)量裝置.jpg
  • 22多喉徑風(fēng)量測(cè)量裝置.jpg
ZW-CDH series Multi throat air flow measurement device Is the development from the foundation Kiel t…

Description:

Productoverview:

ZW-CDH series Multi throat air flow measurement device Is the development from the foundation Kiel tube, according to a new flow sensor layout area velocity method. It is a perfect combination of throttle type flow sensor and measuring method of the velocity area method. The sensor is composed of a plurality of Kiel probe according to the velocity area method is inserted into the pipe, will take the pressure signal into the pipe, resulting in flow. The measuring accuracy is high, mainly used in petrochemical, metallurgy, thermal power industry dust of the large diameter flow measurement. The cost is relatively low, more convenient transportation and installation.

Two, work principle:

ZW-CDH series multi throat diameter air flow measurement device based on the principle of fluid mechanics, when the fluid passes through the throat pipe, through the throat contraction flow diffusion angle. Through the diffusion suction diffusion angle on both sides of the throat, the fluid is rectification and amplification, which greatly improves the throat velocity, so that the throat pressure decreased significantly. The static pressure so that the total pressure hole and throat measured difference amplification. The greater the differential pressure flow is produced, by measuring the differential pressure, pipe flow can be measured.

Pl - population absolute static pressure measuring tube;

K. - pipe flow function;

TL: absolute temperature measuring tube fluid population;

K1 - meter correction factor;

A p - measuring tube population and throat diameter between differential pressure;

F (P, t) - temperature and pressure compensation function.

Third, application:

ZW-CDH series multi throat diameter air flow measurement device is based on the Bernoulli equation, the use of modern aviation technology -- Theory of aerodynamics and fluid mechanics theory, to achieve a single point, multi-point high precision measurement of differential pressure flowmeter. It is widely used in thermal power plant, steel plant, chemical plant, small and medium sized pipeline at ambient temperature or high temperature gas (air, steam, gas, gas, gas) flow measurement, especially suitable for power plant primary air, secondary air flow measurement.

Fourth, the main features:

1, according to different process conditions for single and multi pore throat diameter of both;

2, small pressure loss, the diameter is larger than the diameter of the 300mm diameter pressure loss can be neglected, the energy saving effect is remarkable;

Low 3 and straight pipe. In general, the tube length is 0.7 1.5D;

4, differential pressure value. The small flow rate condition, still get a larger differential pressure value;

5, stable and reliable signal, no pulse differential pressure signal. Due to the adoption of the "throat" structure, so that the measured medium in each throttle segment has a "rectification" process, Zui can eliminate the influence of the eddy current;

6, the special distribution structure, can get the measurement data of the whole cross section of the pipeline, so as to ensure the authenticity and accuracy of measurement;

7, long service life. The product adopts 316 or 1Crl8Ni9Ti materials, and the fluid measuring surface were carried out using durable wear resistant;

8, using a special pressure structure, fundamentally avoid clogging. The anti clogging blowing device, on-line purge maintenance;

9, small size, convenient installation. Only in the pipe hole installation, mounting flange random rationing.

Fifth, technical parameters:

1. medium: air, steam, gas, gas, gas, water and other media;

2. working pressure: PN= ~ 16MPa -30kPa;

Working temperature: 3. -40 to 560 DEG c;

4. velocity measuring range: 0.5 ~ 60m/s;

5. accuracy: + 1.0% + 1.5%;

6. nominal diameter: 100 mm ~ 6000mm, 100 ~ 6000 * 6000mm * 100 mm;

7. reference standard: GB/T2624-2006, GB1236-2000 and JJG835-93;

8. connection mode: welding, flange connection.

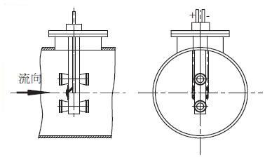
Six, structure:

Multi throat air flow measurement device according to the different insertion points for single point and multiple point two structure. The structure diagram is as follows:


The structure of different specifications of pipe arrangement of throat diameter:

Single point arrangement (for 300mm ~ 1000mm pipe)

 01.jpg

Two layout (for 1000mm ~ 2000mm pipe)

 02.jpg

The third point layout (for 2000mm ~ 4000mm pipe)

 03.jpg

Multi point arrangement (for more than 4000mm pipe)

 04.jpg

Seven, installation instructions:

1. insert multiple throat diameter of installation position directly affect the measurement results, it requires the selection of ideal in the installation position should be installed to avoid impact on the flow measurement of pipe resistance, eddy zone as far as possible to avoid the elbow, valve and other components formed in the pipeline.

2. determine the installation position, according to the requirements along the pipe axis a (or a square hole, and then placed into the flange) rectangular hole and rectangular pipeline welding, welding flange disc symmetry axis and the axis parallel pipeline, and to ensure that the plug is inserted into the pipe at the center of many throat, or by and the vertical central axis of the pipe, the pressure measuring tube must be facing the direction of flow.

3. in order to ensure the welding deformation, the installation should not be opened for the whole installation, flange, and fastening bolts, ensure the sealing performance.

4. vertical road, insert multiple throat diameter in the pipe can be inserted into the pipe of any horizontal angle.

5. in horizontal pipe, insert multiple throat diameter from the vertical pipe is inserted into the tube can be inserted into the tube in horizontal direction.

Eight, the selection of encoding:

Specification code

Explain

ZW- CDH

Specifications

Multi throat flow sensor

Measuring form

/S


A single throat diameter sensor

/D


Multi sensor throat diameter

Diameter measurement


50-


DN50

65-


DN65

80-


DN80

100-


DN100

125-


DN125

150-


DN150

200-


DN200

225-


DN225

250-


DN250

300-


DN300

350-


DN350

400-


DN400

450-


DN450

500-


DN500

600-


DN600

800-


DN800

900-


DN900

1000-


DN1000

Working pressure


One


0.6 MPa

Two


1.6 MPa

Three


2.5 MPa

Four


4.0 MPa

Five


6.4 MPa

Six


10 MPa

working temperature


One


120 DEG C

Two


220 DEG C

Three


380 DEG C

Media type


I


Single point arrangement

II


Two layout

III


Three point arrangement

IV


Multi point arrangement

Pipe material


C

carbon steel

S

Stainless steel

O

Other materials

Types of marking method:

ZW-CDH- S/D- DN - -PN / - I / II / III / IV -C/S/O

ZW-CDH - throat flow sensor

S/D S is a single throat diameter sensor, D as the throat diameter of sensor.

DN - - nominal diameter (mm) such as DN1000, nominal diameter 1000 mm.

PN - - nominal pressure (Mpa) such as PN0.1, for the nominal pressure of 0.1 Mpa.

I / II / III / IV - 1 for single point layout, II is a two-point arrangement for three points, III IV for multi point layout layout.

C/S/O pipe material: C steel, S stainless steel, O and other materials.

Nine, design selection and ordering information:

1, the measured medium;

2, and the flow rate (m3/h);

3, working pressure (Mpa), temperature (c), Z (Mpa), Z high pressure high temperature (C);

4, medium density and viscosity;

5, pipe material, diameter, diameter;

6, field piping and local resistance piece.

7, you need to display instrument Zhongwei control, please refer to the corresponding instructions, the appropriate choice of models or provided by the technical personnel of our company according to your information for your selection.

8, if there are special to show, please contact our sales department.

Customer service service commitment:

1, our series of flowmeter series product quality problems within 12 months, responsible for free maintenance.

2, the warranty period if the products of our company have any quality problems, our company is responsible for free repair or replacement.

3, the warranty period if the user use undeserved, cause damage to the product, our company is responsible for the maintenance, collect the damaged parts cost.

4, the warranty period after the product quality problems, our company is responsible for the maintenance, collect the damaged parts cost.

5, if the user needs to our service, our company in the province of the user service personnel arrived at the scene within 12 hours, arrived at the scene 48 hours outside users.


Browse:
Return To The Top

分享到: